Rack

CHTGH01510-DIN6

Helical Teeth Ground Racks
Material : S50C
Right Hand Helix Angle : 19°31'42"
Hardened : Hardness HRC50-55
Teeth Hardened and Ground
Ground on all sides after Hardening
Total Pitch Error:
Fp /1000 ≦ 0.034 mm
Room Temperature is 25°C

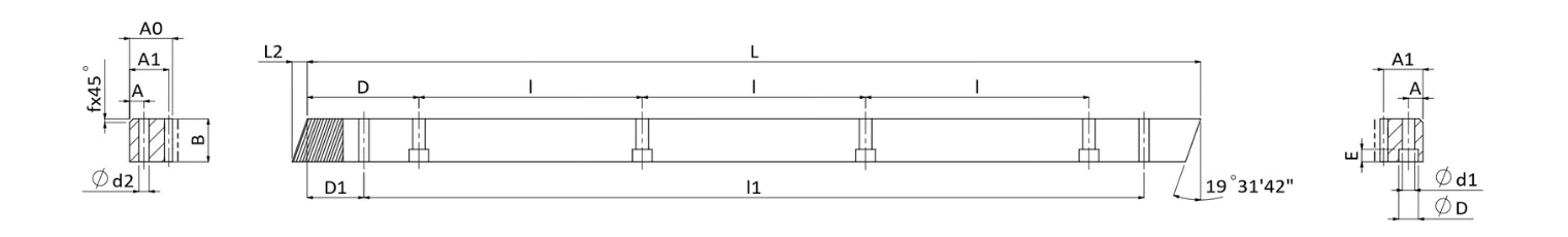
Technical Data
Tooth profile Helical Product Code CHTGH
Module (M) 1.5 Teeth Treatment Teeth Ground
Heat Treatment Hardened Quality(Q) DIN 6
Material S50C Length Range(L) 960-1017.88
Length (L) 1000.00 L2 6.7
No. of. Teeth (Z) 200 Width (B) 19
Height (A0) 19 Pitch Line Height (A1) 17.5
D 62.5 I 125
No. of. Bore (N゚) 8 A 8
ød1 7 øD 11
E 7 D1 31.7
I1 936.6 ød2 5.7
Chamfer (f) 2 Total Pitch Error (Fp) 0.034
Max Feed Force Range (kN) ≦10 Max Feed Force (kN) 5.14
Weight (KG) 2.6 Right Hand Helix Angle(β) 19°31'42”

Unit : mm