Rack

CHTGH02020-DIN6

Helical Teeth Ground Racks
Material : S50C
Right Hand Helix Angle : 19°31'42"
Hardened : Hardness HRC50-55
Teeth Hardened and Ground
Ground on all sides after Hardening
Total Pitch Error:
Fp /2000 ≦ 0.046 mm
Room Temperature is 25°C

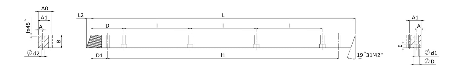
Technical Data
Tooth profile Helical Product Code CHTGH
Module (M) 2 Teeth Treatment Teeth Ground
Heat Treatment Hardened Quality(Q) DIN 6
Material S50C Length Range(L) 1990-2010
Length (L) 2000.00 L2 8.5
No. of. Teeth (Z) 300 Width (B) 24
Height (A0) 24 Pitch Line Height (A1) 22
D 62.5 I 125
No. of. Bore (N゚) 16 A 8
ød1 7 øD 11
E 7 D1 31.7
I1 1936.6 ød2 5.7
Chamfer (f) 2 Total Pitch Error (Fp) 0.046
Max Feed Force Range (kN) ≦10 Max Feed Force (kN) 8.82
Weight (KG) 8.2 Right Hand Helix Angle(β) 19°31'42”

Unit : mm