Rack

CHTGH03010-DIN7

Material:S50C / S45C
Right Hand Helix Angle : 19°31'42"
Hardened : Hardness HRC50-55
Teeth Hardened and Ground
Ground on all sides after Hardening

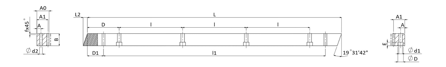
Technical Data
Tooth profile Helical Product Code CHTGH
Module (M) 3 Teeth Treatment Teeth Ground
Heat Treatment Hardened Quality(Q) DIN 7
Material S50C Length Range(L) 960-1017.88
Length (L) 1000.00 L2 10.3
No. of. Teeth (Z) 100 Width (B) 29
Height (A0) 29 Pitch Line Height (A1) 26
D 62.5 I 125
No. of. Bore (N゚) 8 A 9
ød1 10 øD 15
E 9 D1 35
I1 930 ød2 7.7
Chamfer (f) 2 Total Pitch Error (Fp) 0.052
Max Feed Force Range (kN) 10-30 Max Feed Force (kN) 14.38
Weight (KG) 5.8 Right Hand Helix Angle(β) 19°31'42”

Unit : mm