Rack

CHTGH05010-DIN7

Material : S50C / S45C
Right Hand Helix Angle : 19°31'42"
Hardened : Hardness HRC50-55
Teeth Hardened and Ground
Ground on all sides after Hardening

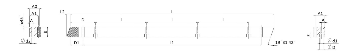
Technical Data
Tooth profile Helical Product Code CHTGH
Module (M) 5 Teeth Treatment Teeth Ground
Heat Treatment Hardened Quality(Q) DIN 7
Material S50C Length Range(L) 960-1017.88
Length (L) 1000.00 L2 17.4
No. of. Teeth (Z) 60 Width (B) 49
Height (A0) 39 Pitch Line Height (A1) 34
D 62.5 I 125
No. of. Bore (N゚) 8 A 12
ød1 14 øD 20
E 13 D1 37.5
I1 925 ød2 11.7
Chamfer (f) 3 Total Pitch Error (Fp) 0.052
Max Feed Force Range (kN) 30-50 Max Feed Force (kN) 41.37
Weight (KG) 13.1 Right Hand Helix Angle(β) 19°31'42”

Unit : mm