Rack

CHTGH06010-DIN7

Material : S50C / S45C
Right Hand Helix Angle : 19°31'42"
Hardened : Hardness HRC50-55
Teeth Hardened and Ground
Ground on all sides after Hardening

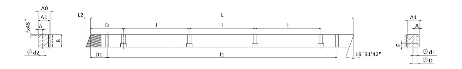
Technical Data
Tooth profile Helical Product Code CHTGH
Module (M) 6 Teeth Treatment Teeth Ground
Heat Treatment Hardened Quality(Q) DIN 7
Material S50C Length Range(L) 960-1017.88
Length (L) 1000.00 L2 20.9
No. of. Teeth (Z) 50 Width (B) 59
Height (A0) 49 Pitch Line Height (A1) 43
D 62.5 I 125
No. of. Bore (N゚) 8 A 16
ød1 18 øD 26
E 17 D1 37.5
I1 925 ød2 15.7
Chamfer (f) 3 Total Pitch Error (Fp) 0.052
Max Feed Force Range (kN) 50-100 Max Feed Force (kN) 60.42
Weight (KG) 18.8 Right Hand Helix Angle(β) 19°31'42”

Unit : mm