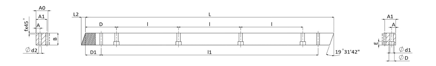
| Tooth profile | Helical | Product Code | CHTMH |
|---|---|---|---|
| Module (M) | 1.5 | Teeth Treatment | Milled |
| Heat Treatment | Hardened | Quality(Q) | DIN 10 |
| Material | S50C | Length Range(L) | 960-1017.88 |
| Length (L) | 1000.00 | L2 | 6.0 |
| No. of. Teeth (Z) | 200 | Width (B) | 17 |
| Height (A0) | 17 | Pitch Line Height (A1) | 15.5 |
| D | 62.5 | I | 125 |
| No. of. Bore (N゚) | 8 | A | 7 |
| ød1 | 6 | øD | 9.5 |
| E | 7 | D1 | 31.7 |
| I1 | 936.6 | ød2 | 5.7 |
| Chamfer (f) | 1.5 | Total Pitch Error (Fp) | 0.200 |
| Max Feed Force Range (kN) | ≦10 | Max Feed Force (kN) | 3.37 |
| Weight (KG) | 2.6 | Right Hand Helix Angle(β) | 19°31'42” |
Unit : mm