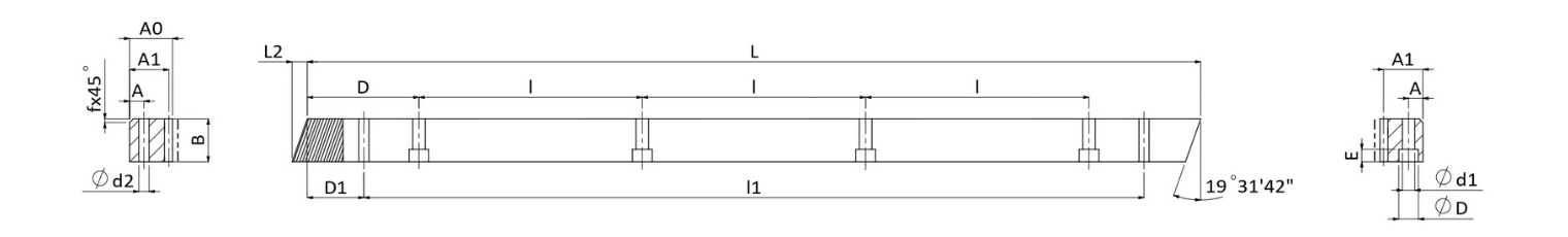
| Tooth profile | Helical | Product Code | CHTMH |
|---|---|---|---|
| Module (M) | 4 | Teeth Treatment | Milled |
| Heat Treatment | Hardened | Quality(Q) | DIN 10 |
| Material | S50C | Length Range(L) | 960-1017.88 |
| Length (L) | 1000.00 | L2 | 13.8 |
| No. of. Teeth (Z) | 75 | Width (B) | 39 |
| Height (A0) | 39 | Pitch Line Height (A1) | 35 |
| D | 62.5 | I | 125 |
| No. of. Bore (N゚) | 8 | A | 12 |
| ød1 | 10 | øD | 15 |
| E | 9 | D1 | 33.3 |
| I1 | 933.4 | ød2 | 7.7 |
| Chamfer (f) | 2 | Total Pitch Error (Fp) | 0.200 |
| Max Feed Force Range (kN) | 10-30 | Max Feed Force (kN) | 20.63 |
| Weight (KG) | 10.8 | Right Hand Helix Angle(β) | 19°31'42” |
Unit : mm