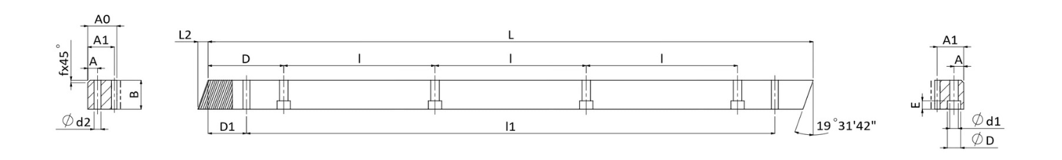
| Tooth profile | Helical | Product Code | CHTMH |
|---|---|---|---|
| Module (M) | 5 | Teeth Treatment | Milled |
| Heat Treatment | Hardened | Quality(Q) | DIN 10 |
| Material | S50C | Length Range(L) | 960-1017.88 |
| Length (L) | 1000.00 | L2 | 17.4 |
| No. of. Teeth (Z) | 60 | Width (B) | 49 |
| Height (A0) | 39 | Pitch Line Height (A1) | 34 |
| D | 62.5 | I | 125 |
| No. of. Bore (N゚) | 8 | A | 12 |
| ød1 | 14 | øD | 20 |
| E | 13 | D1 | 37.5 |
| I1 | 925 | ød2 | 11.7 |
| Chamfer (f) | 3 | Total Pitch Error (Fp) | 0.200 |
| Max Feed Force Range (kN) | 30-50 | Max Feed Force (kN) | 33.10 |
| Weight (KG) | 13.1 | Right Hand Helix Angle(β) | 19°31'42” |
Unit : mm