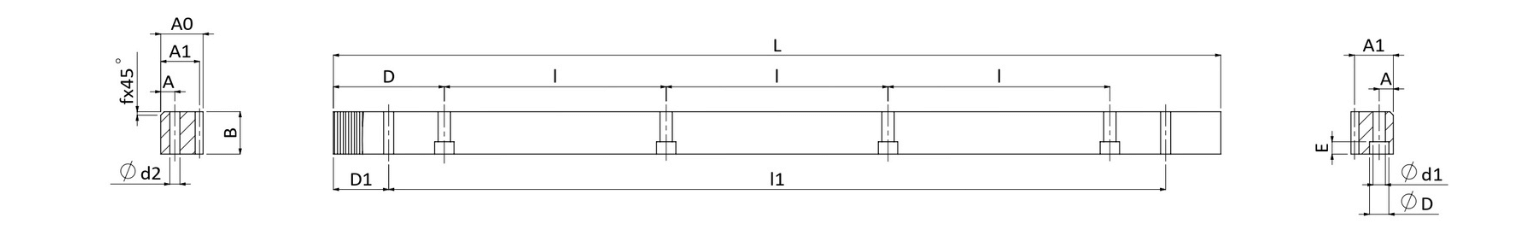
| Tooth profile | Straight | Product Code | CSTM |
|---|---|---|---|
| Module (M) | 1.5 | Teeth Treatment | Milled |
| Quality(Q) | DIN 8 | Material | S50C |
| Length Range(L) | 960-1017.88 | Length (L) | 999.03 |
| No. of. Teeth (Z) | 212 | Width (B) | 17 |
| Height (A0) | 17 | Pitch Line Height (A1) | 15.5 |
| D | 62.44 | I | 124.88 |
| No. of. Bore (N゚) | 8 | A | 7 |
| ød1 | 6 | øD | 9.5 |
| E | 7 | D1 | 29 |
| I1 | 941 | ød2 | 5.7 |
| Chamfer (f) | 1.5 | Total Pitch Error (Fp) | 0.060 |
| Max Feed Force Range (kN) | ≦10 | Max Feed Force (kN) | 0.41 |
| Weight (KG) | 2.6 |
Unit : mm