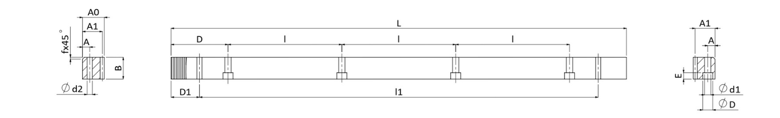
| Tooth profile | Straight | Product Code | CSTM |
|---|---|---|---|
| Module (M) | 3 | Teeth Treatment | Milled |
| Quality(Q) | DIN 8 | Material | S50C |
| Length Range(L) | 960-1017.88 | Length (L) | 1017.88 |
| No. of. Teeth (Z) | 108 | Width (B) | 30 |
| Height (A0) | 29 | Pitch Line Height (A1) | 26 |
| D | 63.62 | I | 127.23 |
| No. of. Bore (N゚) | 8 | A | 9 |
| ød1 | 10 | øD | 15 |
| E | 9 | D1 | 34.4 |
| I1 | 949.1 | ød2 | 7.7 |
| Chamfer (f) | 2 | Total Pitch Error (Fp) | 0.060 |
| Max Feed Force Range (kN) | ≦10 | Max Feed Force (kN) | 1.45 |
| Weight (KG) | 6.2 |
Unit : mm