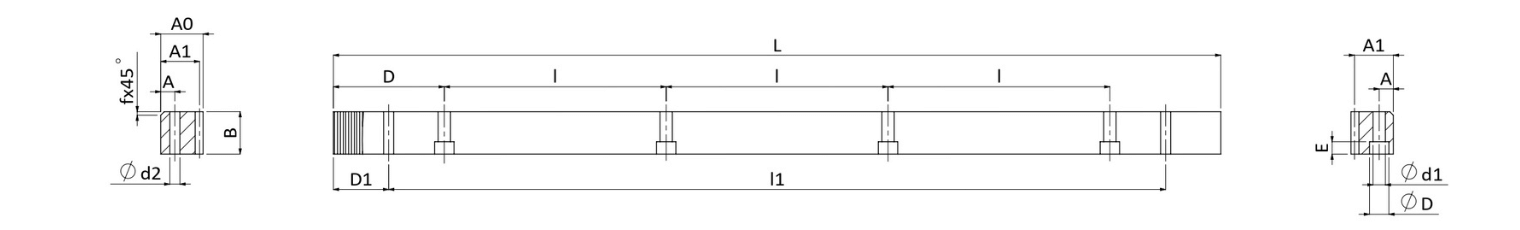
| Tooth profile | Straight | Product Code | CSTM |
|---|---|---|---|
| Module (M) | 6 | Teeth Treatment | Milled |
| Quality(Q) | DIN 8 | Material | S50C |
| Length Range(L) | 1920-2035.75 | Length (L) | 2035.75 |
| No. of. Teeth (Z) | 108 | Width (B) | 59 |
| Height (A0) | 49 | Pitch Line Height (A1) | 43 |
| D | 63.62 | I | 127.23 |
| No. of. Bore (N゚) | 16 | A | 16 |
| ød1 | 18 | øD | 26 |
| E | 17 | D1 | 31.4 |
| I1 | 1973 | ød2 | 15.7 |
| Chamfer (f) | 3 | Total Pitch Error (Fp) | 0.078 |
| Max Feed Force Range (kN) | ≦10 | Max Feed Force (kN) | 5.89 |
| Weight (KG) | 39.2 |
Unit : mm