Rack

CHTGH05020-DIN6

Helical Teeth Ground Racks
Material : S50C
Right Hand Helix Angle : 19°31'42"
Hardened : Hardness HRC50-55
Teeth Hardened and Ground
Ground on all sides after Hardening
Total Pitch Error:
Fp /2000 ≦ 0.048 mm
Room Temperature is 25°C

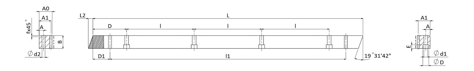
Technical Data
Tooth profile Helical Product Code CHTGH
Module (M) 5 Teeth Treatment Teeth Ground
Heat Treatment Hardened Quality(Q) DIN 6
Material S50C Length Range(L) 1920-2035.75
Length (L) 2000.00 L2 17.4
No. of. Teeth (Z) 120 Width (B) 49
Height (A0) 39 Pitch Line Height (A1) 34
D 62.5 I 125
No. of. Bore (N゚) 16 A 12
ød1 14 øD 20
E 13 D1 37.5
I1 1925 ød2 11.7
Chamfer (f) 3 Total Pitch Error (Fp) 0.048
Max Feed Force Range (kN) 30-50 Max Feed Force (kN) 45.27
Weight (KG) 26.0 Right Hand Helix Angle(β) 19°31'42”

Unit : mm