Rack

CHTGH08020-DIN6

Helical Teeth Ground Racks
Material : S50C
Right Hand Helix Angle : 19°31'42"
Hardened : Hardness HRC50-55
Teeth Hardened and Ground
Ground on all sides after Hardening
Total Pitch Error:
Fp /1920 ≦ 0.048 mm
Room Temperature is 25°C

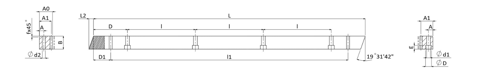
Technical Data
Tooth profile Helical Product Code CHTGH
Module (M) 8 Teeth Treatment Teeth Ground
Heat Treatment Hardened Quality(Q) DIN 6
Material S50C Length Range(L) 1920-2035.75
Length (L) 1920.00 L2 28.0
No. of. Teeth (Z) 72 Width (B) 79
Height (A0) 79 Pitch Line Height (A1) 71
D 60 I 120
No. of. Bore (N゚) 16 A 25
ød1 22 øD 33
E 21 D1 120
I1 1680 ød2 19.7
Chamfer (f) 4 Total Pitch Error (Fp) 0.048
Max Feed Force Range (kN) >100 Max Feed Force (kN) 117.68
Weight (KG) 82.0 Right Hand Helix Angle(β) 19°31'42”

Unit : mm