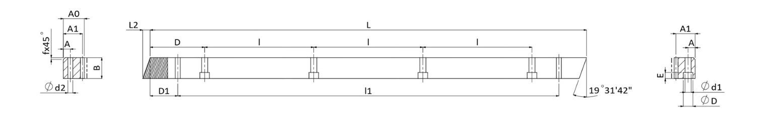
| Tooth profile | Helical | Product Code | CHTMH |
|---|---|---|---|
| Module (M) | 6 | Teeth Treatment | Milled |
| Heat Treatment | Hardened | Quality(Q) | DIN 10 |
| Material | S50C | Length Range(L) | 1920-2035.75 |
| Length (L) | 2000.00 | L2 | 20.9 |
| No. of. Teeth (Z) | 100 | Width (B) | 59 |
| Height (A0) | 49 | Pitch Line Height (A1) | 43 |
| D | 62.5 | I | 125 |
| No. of. Bore (N゚) | 16 | A | 16 |
| ød1 | 18 | øD | 26 |
| E | 17 | D1 | 37.5 |
| I1 | 1925 | ød2 | 15.7 |
| Chamfer (f) | 3 | Total Pitch Error (Fp) | 0.400 |
| Max Feed Force Range (kN) | 30-50 | Max Feed Force (kN) | 48.34 |
| Weight (KG) | 37.5 | Right Hand Helix Angle(β) | 19°31'42” |
Unit : mm