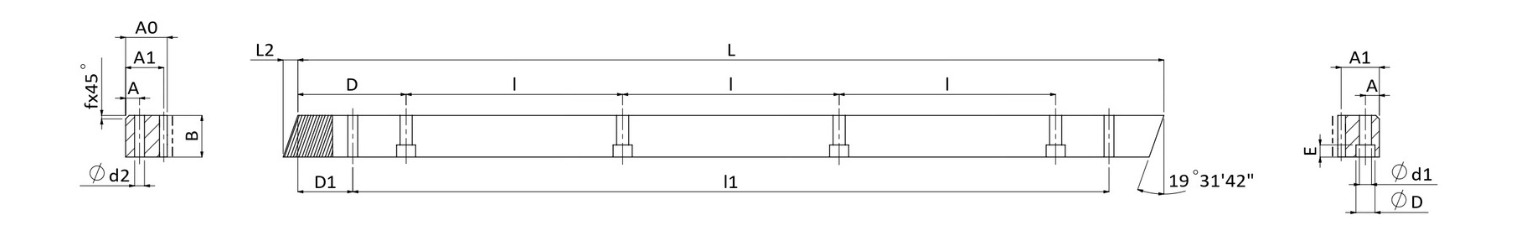
| Tooth profile | Helical | Product Code | CHTMH |
|---|---|---|---|
| Module (M) | 8 | Teeth Treatment | Milled |
| Heat Treatment | Hardened | Quality(Q) | DIN 10 |
| Material | S50C | Length Range(L) | 960-1017.88 |
| Length (L) | 960.00 | L2 | 28.0 |
| No. of. Teeth (Z) | 36 | Width (B) | 79 |
| Height (A0) | 79 | Pitch Line Height (A1) | 71 |
| D | 60 | I | 120 |
| No. of. Bore (N゚) | 8 | A | 25 |
| ød1 | 22 | øD | 33 |
| E | 21 | D1 | 120 |
| I1 | 720 | ød2 | 19.7 |
| Chamfer (f) | 4 | Total Pitch Error (Fp) | 0.200 |
| Max Feed Force Range (kN) | 50-100 | Max Feed Force (kN) | 86.30 |
| Weight (KG) | 41.0 | Right Hand Helix Angle(β) | 19°31'42” |
Unit : mm