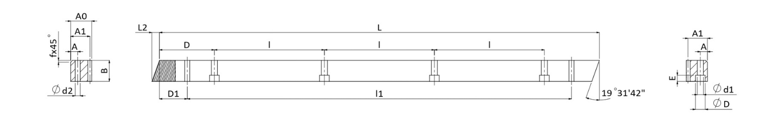
| Tooth profile | Helical | Product Code | MHTMQ |
|---|---|---|---|
| Module (M) | 3 | Teeth Treatment | Milled |
| Heat Treatment | Quenched & Tempered | Quality(Q) | DIN 8 |
| Material | SCM440 | Length Range(L) | 1920-2035.75 |
| Length (L) | 2000.00 | L2 | 10.6 |
| No. of. Teeth (Z) | 200 | Width (B) | 30 |
| Height (A0) | 29 | Pitch Line Height (A1) | 26 |
| D | 62.5 | I | 125 |
| No. of. Bore (N゚) | 16 | A | 9 |
| ød1 | 10 | øD | 15 |
| E | 9 | D1 | 35 |
| I1 | 1930 | ød2 | 7.7 |
| Chamfer (f) | 2 | Total Pitch Error (Fp) | 0.200 |
| Max Feed Force Range (kN) | ≦10 | Max Feed Force (kN) | 4.28 |
| Weight (KG) | 11.6 | Right Hand Helix Angle(β) | 19°31'42” |
Unit : mm