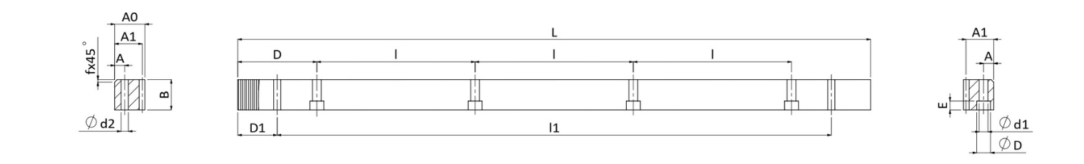
| Tooth profile | Straight | Product Code | CSTM |
|---|---|---|---|
| Module (M) | 2 | Teeth Treatment | Milled |
| Quality(Q) | DIN 8 | Material | S50C |
| Length Range(L) | 960-1017.88 | Length (L) | 1005.31 |
| No. of. Teeth (Z) | 160 | Width (B) | 25 |
| Height (A0) | 24 | Pitch Line Height (A1) | 22 |
| D | 62.83 | I | 125.66 |
| No. of. Bore (N゚) | 8 | A | 8 |
| ød1 | 7 | øD | 11 |
| E | 7 | D1 | 31.3 |
| I1 | 942.7 | ød2 | 5.7 |
| Chamfer (f) | 2 | Total Pitch Error (Fp) | 0.060 |
| Max Feed Force Range (kN) | ≦10 | Max Feed Force (kN) | 0.83 |
| Weight (KG) | 4.2 |
Unit : mm