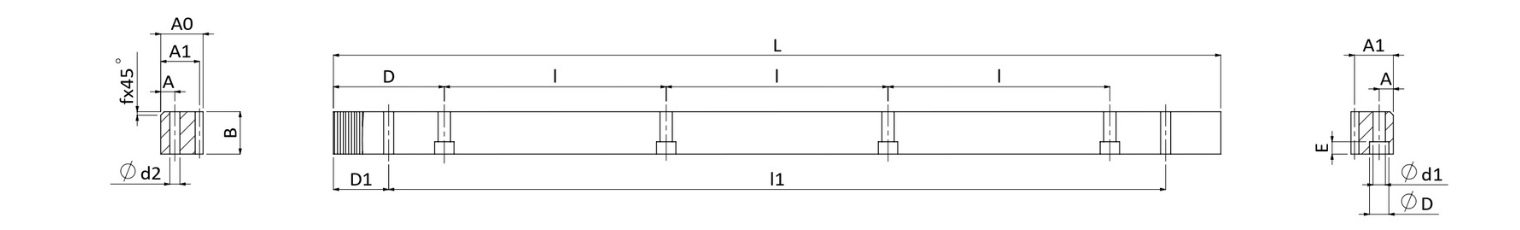
| Tooth profile | Straight | Product Code | MSTMQ |
|---|---|---|---|
| Module (M) | 8 | Teeth Treatment | Milled |
| Heat Treatment | Quenched & Tempered | Quality(Q) | DIN 8 |
| Material | SCM440 | Length Range(L) | 1920-2035.75 |
| Length (L) | 2010.61 | No. of. Teeth (Z) | 80 |
| Width (B) | 79 | Height (A0) | 79 |
| Pitch Line Height (A1) | 71 | D | 62.83 |
| I | 125.66 | No. of. Bore (N゚) | 16 |
| A | 25 | ød1 | 22 |
| øD | 33 | E | 21 |
| D1 | 26.6 | I1 | 1957.4 |
| ød2 | 19.7 | Chamfer (f) | 4 |
| Total Pitch Error (Fp) | 0.200 | Max Feed Force Range (kN) | 10-30 |
| Max Feed Force (kN) | 16.73 | Weight (KG) | 84.0 |
Unit : mm